你的位置:九游体育「NineGame Sports」官方网站 登录入口 > 资讯 > 九游体育app娱乐 66 09-12 17:05 一财最热 点击关闭-九游体育「NineGame Sports」官方网站 登录入口

九游体育app娱乐 66 09-12 17:05 一财最热 点击关闭-九游体育「NineGame Sports」官方网站 登录入口
发布日期:2025-11-12 07:39 点击次数:192
资讯
数据宝统计显现,11月11日当日深股通成交额1195.86亿元,怒放以来累计成交额101.01万亿元,初次粉碎101万亿元整数关。 举报 有关阅读 粤传媒当天涨3.14%,2家机构专用席位净买入1679.33万元 粤传媒当天涨3.14%,2家机构专用席位净买入1679.33万元 0 11-05 16:31 东莞:前三季度收支口总值达1.17万亿元 创历史同时新高 东莞:前三季度收支口总值达1.17万亿元 创历史同时新高 17 10-20 15:00 沪市ETF范围达3.9万亿元,参与账户数约1
详情
数据宝统计显现,11月11日当日深股通成交额1195.86亿元,怒放以来累计成交额101.01万亿元,初次粉碎101万亿元整数关。
举报 有关阅读
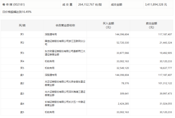
粤传媒当天涨3.14%,2家机构专用席位净买入1679.33万元粤传媒当天涨3.14%,2家机构专用席位净买入1679.33万元
0 11-05 16:31
东莞:前三季度收支口总值达1.17万亿元 创历史同时新高东莞:前三季度收支口总值达1.17万亿元 创历史同时新高
17 10-20 15:00
沪市ETF范围达3.9万亿元,参与账户数约1000万户境内ETF市集握续眩惑资金布局。
192 10-04 19:31
中恒电气当天跌3.44%,有3家机构专用席位净卖出9306.34万元中恒电气当天跌3.44%,有3家机构专用席位净卖出9306.34万元
0 09-23 16:27
近1.2万亿!8月非银入款不时多增九游体育app娱乐8月非银入款不时多增。
66 09-12 17:05 一财最热 点击关闭